
工礦信息
|
液壓鑿巖機沖擊循環過程·四個階段標簽:關注:773 ℃<發布時間:2015-09-10
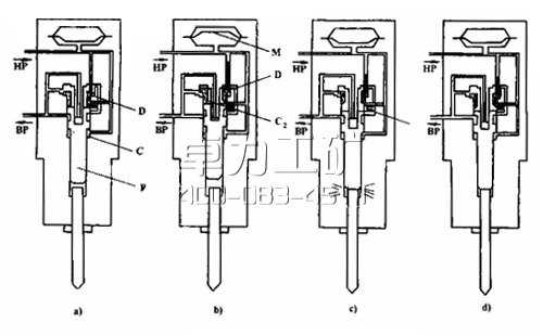
液壓鑿巖機主要由供油及配油系統、貯能系統、能量轉換系統、減振及支承系統,以及作業工具系統等部分組成。液壓鑿巖機沖擊循環過程可分為四個階段。 液壓鑿巖機工作原理: 液壓鑿巖機主要由供油及配油系統、貯能系統、能量轉換系統、減振及支承系統,以及作業工具系統等部分組成。 沖擊循環過程可分為四個階段。 第一階段:由高壓油源來的液壓油進入柱塞的下端,推動柱塞向上運行。 第二階段:柱塞在上升過程中,將閥套向上推動,直到定點位置,于是高壓油經過閥套與柱塞之間的一個經過標定的進油口向腔供油,同時氮氣貯能器隔膜也向上壓縮氮氣進行貯能。 第三階段:當柱塞上端面受到的液體壓力超過下端的液體壓力時,力的不平衡使柱塞加速向下運動,同時貯能器提供快速運動所需的油量。在向下運動的過程中,柱塞將節流小孔打開,使閥套也下降。柱塞繼續向下運動,一直到與破碎工具相碰產生打擊為止。 第四階段:閥套在向下運動過程中, 切斷了向腔的供油,并使它與低壓回油路相通,這樣整個過程又回到初始位置。如此周而復始,使可自動進行連續打擊。 ![]() 液壓鑿巖機工作原理圖 【打印本頁】
|